1、使用范围 结构特点: 适用于带腐蚀性介质的输送过程的截流,
2、根据不同材质温度-14℃~100℃、-40℃~140℃。 全部零件采用RPP或PVDF注塑件组装成型,
3、耐腐蚀性能优良。 密封圈采用F4。耐腐性能优异,延长使用寿命。转动灵活、使用方便。
4、整体式球阀泄漏点少,强度高,连接式球阀装拆方便。 球阀的安装使用: 两端法兰与管路连接时,
5、要均匀拧紧螺栓,防止法兰变形造成泄漏。 顺时针方向旋转手柄为关闭,反之为开启。
6、只可作断流、通流,不宜有流量调节。 含硬颗粒液体容易使球表面划伤。
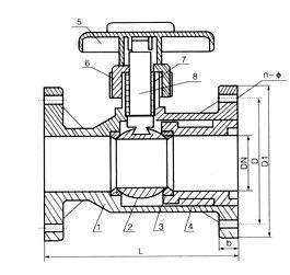
二、Q41F-10S 法兰塑料球阀--零件材质表
| NO | 名称 | 材质 |
| 1 | 阀体 | FRPP、PVDF、CPVC |
| 2 | 球 | FRPP、PVDF、CPVC |
| 3 | 密封圈 | PTER〈F4〉 |
| 4 | 内塞 | FRPP、PVDF、CPVC |
| 5 | 手柄 | ABS |
| 6 | 压紧螺母 | FRPP、PVDF、CPVC |
| 7 | 密封 | PTER〈F4〉 |
| 8 | 阀杆 | FRPP、PVDF、CPVC |
| DN | D1 | D | L | d | n | ¢ | 公称压力 |
| HG | JIS | DIN | ANSI | HG | JIS | DIN | ANSI | HG | JIS | DIN | ANSI | PVDF | RPP |
| 15 | 95 | 65 | 70 | 65 | 60 | 100 | 14 | 4 | 4 | 4 | 4 | 14 | 15 | 14 | 16 | 1.2 | 1 |
| 20 | 105 | 75 | 75 | 75 | 70 | 120 | 16 | 4 | 4 | 4 | 4 | 14 | 15 | 14 | 16 | 1.2 | 1 |
| 25 | 115 | 85 | 90 | 85 | 80 | 140 | 16 | 4 | 4 | 4 | 4 | 14 | 19 | 14 | 16 | 1.2 | 1 |
| 32 | 135 | 100 | | | | 160 | 16 | 4 | | | | 18 | | | | 1.2 | 1 |
| 40 | 145 | 110 | 105 | 110 | 98 | 165 | 16 | 4 | 4 | 4 | 4 | 18 | 19 | 18 | 16 | 1.2 | 1 |
| 50 | 160 | 125 | 120 | 125 | 120 | 180 | 18 | 4 | 4 | 4 | 4 | 18 | 19 | 18 | 19 | 1.2 | 1 |
| 65 | 180 | 145 | 140 | 145 | 140 | 220 | 22 | 4 | 4 | 4 | 4 | 18 | 19 | 18 | 14 | 1.2 | 1 |
| 80 | 195 | 160 | 150 | 160 | 152 | 250 | 25 | 4 | 8 | 8 | 4 | 18 | 19 | 18 | 14 | 1.2 | 1 |
| 100 | 215 | 160 | 175 | 180 | 190 | 280 | 25 | 8 | 8 | 8 | 8 | 18 | 19 | 18 | 19 | 1.2 | 1 |
| 125 | 245 | 210 | 210 | 210 | 216 | 320 | 30 | 8 | 8 | 8 | 8 | 18 | 23 | 18 | 22 | 1 | 0.8 |
| 150 | 280 | 240 | 240 | 240 | 240 | 360 | 30 | 8 | 8 | 8 | 8 | 23 | 23 | 23 | 22 | 1 | 0.8 |
| 200 | 335 | 295 | 295 | 295 | 298 | 400 | 35 | 8 | 12 | 8 | 8 | 23 | 23 | 23 | 22 | 0.8 | 0.8 |
| 250 | 395 | 350 | 355 | 350 | 362 | 500 | 38 | 12 | 12 | 12 | 12 | 23 | 23 | 23 | 22 | 0.8 | 0.6 |
| 300 | 455 | 400 | 400 | 400 | 432 | 600 | 40 | 12 | 16 | 12 | 12 | 23 | 25 | 23 | 25 | 0.8 | 0.5 |

上兆阀门其他产品:
闸 阀 截止阀 球 阀 蝶 阀 紧急切断阀 电磁阀 水力控制阀 止回阀 刀型闸阀 旋塞阀 过滤器 减压阀 疏水阀 隔膜阀 调节阀 阻火器 呼吸阀 燃气阀门 冶金阀门