一、Q11F一片式球阀--特征
产品名称:Q11F 一片式球阀
公称压力:1.6-6.4MPa
适用温度范围:-20~232℃~350℃
适用介质:水、油、气及某些腐蚀性液体(W.O.G)
螺纹类型:G·NPT.BSPT.DIN259/2999
Q11F 一片式球阀适用于城建、化工、冶金、石油、制药、食品、饮料、环保
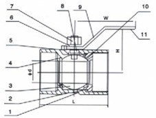
SIZE | D | L | H | W | WEIGHT(kg) |
1/4 ’’ | 4.6 | 39 | 22 | 80 | 0.070 |
3/8 ’’ | 6.8 | 44 | 26 | 84 | 0.115 |
1/2’’ | 9.2 | 56 | 31 | 88 | 0.175 |
3/4’’ | 12.5 | 59 | 34 | 88 | 0.255 |
1’’ | 15 | 71 | 38 | 105 | 0.395 |
1-1/4’’ | 20 | 78 | 43 | 105 | 0.680 |
1-1/2’’ | 25 | 83 | 50 | 124 | 0.805 |
2’’ | 32 | 100 | 57 | 124 | 1.315 |
四、Q11F一片式球阀--主要零件材料
ITEM | PARTS | 部件 | MATERIAL材质 |
1 | BODY | 阀体 | CF8/CF8M |
2 | CAP | 阀盖 | CF8/CF8M |
3 | SEAT | 阀座(甲) | RPTFE |
4 | PACKING RING | 垫圈 | 304 |
5 | NUT | 螺母 | 304 |
6 | STEM | 阀杆 | 304/316 |
7 | HANDLE | 手柄 | 304 |
8 | WASTER | 弹簧垫圈 | 304 |
9 | SEAT | 阀座(己) | RPTEE |
10 | BALL | 球 | GF8M |
11 | PLASTIC COVER | 手柄套 | PLASTIC |

上兆阀门其他产品:
闸 阀 截止阀 球 阀 蝶 阀 紧急切断阀 电磁阀 水力控制阀 止回阀 刀型闸阀 旋塞阀 过滤器 减压阀 疏水阀 隔膜阀 调节阀 阻火器 呼吸阀 燃气阀门 冶金阀门