与普通球阀相比,超薄型球阀具有结构长度短、重量轻、安装方便、节省材料等显著的优点。对夹保温夹套球阀保温效果好。此外,阀座采用弹性密封结构,密封可靠,启闭轻松。设有耐火结构,万一发生火灾时,仍然能够可靠操作并具有良好的密封性。根据用户需要,可设有防静电结构。设置了开关带孔定位片,根据需要可以加锁,防止误操作。
二、Q71F对夹式薄型球阀--适用范围
Q71F 对夹薄型球阀及对夹保温夹套球阀适用于Class150、PN1.0~2.5MPa,工作温度 29~180℃(密封圈为增强聚四氟乙烯)或 29~300℃(密封圈为对位聚苯)的各种管路上,用于截断或接通管路中的介质,选用不同的材质,可分别适用于水、蒸汽、油品、硝酸、醋酸、氧化性介质、尿素等多种介质。
| 公称通径: | DN15-DN200 |
| 公称压力: | PN10,PN16,PN40 |
| 适合法兰 : | ANSI CLASS150, 300 |
| 手柄操作或驱动器装置操作 |
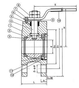
四、Q71F对夹式薄型球阀--主要零件材料
序号 NO | 零件名称 | 材质 |
| 1 | 阀体 | 不锈钢CF8M/CF8 | 碳钢WCB |
| 2 | 球 | 不锈钢316/304 | 不锈钢SS304 |
| 3 | 密封垫 | 聚四氟乙烯PTFE | 聚四氟乙烯PTFE |
| 4 | 阀杆 | 不锈钢316/304 | 不锈钢SS304 |
| 5 | 填料 | 聚四氟乙烯PTFE | 聚四氟乙烯PTFE |
| 6 | 定位锁 | 不锈钢304 | 不锈钢SS304 |
| 7 | 手柄 | 不锈钢304 | 不锈钢SS304 |
| 8 | 阀杆螺母 | 不锈钢304 | 不锈钢SS304 |
| 9 | 填料压盖 | 不锈钢304 | 不锈钢SS304 |
| 10 | 手柄套 | 塑料 | 塑料 |
| 11 | 密封瓶帽 | 不锈钢316/304 | 不锈钢SS304 |
| 12 | 垫圈 | 聚四氟乙烯PTFE | 聚四氟乙烯PTFE |
| SIZE | 1/2 | 3/4 | 1 | 1 1 / 4 | 1 1 / 2 | 2 | 2 1 / 2 | 3 | 4 | 5 | 6 | 8 |
| d | 15 | 19 | 23.5 | 30 | 36 | 45 | 58 | 67 | 76 | 100 | 125 | 195 |
| L | 32 | 38.5 | 45 | 55 | 62 | 72 | 95 | 120 | 145 | 200 | 225 | 275 |
| D | 95 | 105 | 115 | 135 | 145 | 160 | 180 | 195 | 215 | 245 | 280 | 335 |
| D1 | 65 | 75 | 85 | 100 | 110 | 125 | 145 | 160 | 180 | 210 | 240 | 295 |
| D2 | 45 | 55 | 65 | 78 | 85 | 100 | 120 | 135 | 155 | 185 | 210 | 265 |
| H | 62 | 70 | 79 | 86 | 92 | 102 | 158 | 172 | 187 | 200 | 240 | 278 |
| E | 110 | 125 | 135 | 150 | 150 | 180 | 250 | 300 | 350 | 650 | 840 | 1000 |
| b | 14 | 14 | 16 | 16 | 18 | 20 | 22 | 24 | 24 | 26 | 26 | 28 |
| z-d1 | 4-14 | 4-14 | 4-14 | 4-18 | 4-18 | 4-18 | 4-18 | 8-18 | 8-18 | 8-18 | 8-23 | 12-20 |
| f | 2 | 2 | 2 | 3 | 3 | 3 | 3 | 3 | 3 | 3 | 3 | 3 |

上兆阀门其他产品:
闸 阀 截止阀 球 阀 蝶 阀 紧急切断阀 电磁阀 水力控制阀 止回阀 刀型闸阀 旋塞阀 过滤器 减压阀 疏水阀 隔膜阀 调节阀 阻火器 呼吸阀 燃气阀门 冶金阀门